★ 您好,欢迎来到上海荣耀实业有限公司!!服务热线:13916607858
Logo
网站首页 关于我们 产品中心 客户案例
新闻资讯 资质荣誉 在线留言 联系我们
您现在的位置:网站首页 >> 新闻资讯 >> 格来圈/斯特封(图纸-尺寸)

格来圈/斯特封(图纸-尺寸)

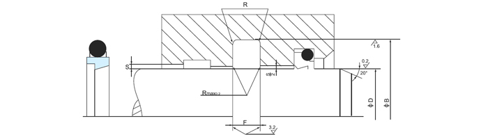
轴用格来圈

Pull Rod Diameter
拉杆直径ФDf8
Groove Inner Diameter  沟槽外径 Groove Width 沟槽宽度 Diametral clearance     
径向间隙
S max**
 Max Radius   
半径
O Ring Inner Diameter      O型圈
内径
O Ring Diameter    
 O型圈
线径
Overloading Series    重载系列 Standard Series  标准系列 Light Load Series  轻载系列
B h9  F+0.2 0-20Mpa   20-40Mpa R
3-7.9 d+4.9   2.2 0.6-0.4 0.4-0.3    0.3-0.5 d+2 1.78
-   8-18.9 8-18.9 d+7.3   3.2 0.8-0.5 0.5-0.3   0.5-0.8  d+3.5 2.62
8-18.9  19-37.9  19-37.9  d+10.7   4.2 0.8-0.5 0.5-0.4  0.8-1.2  d+5  3.53
19-37.9   38-199.9 38-199.9 d+15.1   6.3 1.0-0.6 0.6-0.4    1.2-1.5 d+7 5.33
38-199.9   200-255.9 200-255.9 d+20.5   8.1 1.0-0.6 0.6-0.5   1.5-2.0 d+9.5  7.00
200-255.9  256-649.9  256-649.9 d+24.0   8.1 1.2-1.0 1.0-0.6  1.5-2.0  d+13  7.00
256-649.9   650-999.9 650-999.9 d+27.3   9.5 1.4-1.0 1.0-0.7   2.0-3.0  d+14.5 8.40

 **高压时,S max=H7-f7(缸筒-活塞)

 

Pull Rod Diameter 拉杆直径ФDf8 Groove Inner Diameter      沟槽内径 Groove Width 
沟槽宽度
Diametral clearance       径向间隙 S max**
 Max Radius    最大半径

O Ring Inner Diameter
Overloading Series 

O型圈内径

O Ring Diameter
Standard Series 

O型圈
线径

Overloading Series 
重载系列
Standard Series 
标准系列
Light Load Series 
轻载系列
- B h9 F+0.2  0-20Mpa  20-40Mpa
-   3-7.9 8-18.9 d+4.9  2.2 0.6-0.4  0.4-0.3 0.3-0.5  d+2  1.78
 8-18.9 19-37.9 d+7.3  3.2 0.8-0.5  0.5-0.3 0.5-0.8   d+3.5 2.62
8-18.9  19-37.9 38-199.9   d+10.7 4.2 0.8-0.5  0.5-0.4 0.8-1.2  d+5  3.53
19-37.9  38-199.9 200-255.9   d+15.1 6.3 1.0-0.6    0.6-0.4 1.2-1.5 d+7 5.33
38-199.9  200-255.9 256-649.9   d+20.5 8.1 1.0-0.6  0.6-0.5  1.5-2.0 d+9.5  7.00
200-255.9  256-649.9 650-999.9   d+24.0 8.1 1.2-1.0  0.8-0.6  1.5-2.0 d+13  7.00
 
256-649.9  650-999.9 -   d+27.3 9.5 1.4-1.0   1.0-0.7 2.0-3.0 d+14.5  8.40   
 

轴用格来圈尺寸表 Size Table of Axis Glyd Ring

 
Pull Rod Diameter   拉杆直径Df8
 
 
Groove Inner Diameter 
 
沟槽外径
 
 
Bh9
Groove Width    沟槽宽度
F+0.2
Item NO.
 型号 
Pull Rod Diameter   拉杆直径
Df8
Groove Inner Diameter 
 
沟槽外径
 
 
Bh9
Groove Width   
沟槽宽度F+0.2
Item NO.
 型号
4
8.9
2.2
ZG1043-0040
56
71.1
6.3
ZG1043-0560
5
9.9
2.2
ZG1043-0050
56
66.7
4.2
ZG1045-0560
6
10.9
2.2
ZG1043-0060
60
75.1
6.3
ZG1043-0600
7
11.9
2.2
ZG1043-0070
60
70.7
4.2
ZG1045-0600
8
15.3
3.2
ZG1043-0080
63
78.1
6.3
ZG1043-0630
8
12.9
2.2
ZG1045-0080
65
80.1
6.3
ZG1043-0650
10
17.3
3.2
ZG1043-0100
70
85.1
6.3
ZG1043-0700
10
14.9
2.2
ZG1045-0100
75
90.1
6.3
ZG1043-0750
12
19.3
3.2
ZG1043-0120
80
95.1
6.3
TS1043-0800
12
16.9
2.2
ZG1045-0120
85
100.1
6.3
ZG1043-0850
14
21.3
3.2
ZG1043-0140
90
105.1
6.3
ZG1043-0900
14
18.9
2.2
ZG1045-0140
95
110.1
6.3
ZG1043-0950
16
23.3
3.2
ZG1043-0160
100
115.1
6.3
ZG1043-1000
16
20.9
2.2
ZG1045-0160
105
120.1
6.3
ZG1043-1050
18
25.3
3.2
ZG1043-0180
110
125.1
6.3
ZG1043-1100
18
22.9
2.2
ZG1045-0180
115
130.1
6.3
ZG1043-1150
20
30.7
4.2
ZG1043-0200
120
135.1
6.3
ZG1043-1200
20
27.3
3.2
ZG1045-0200
125
140.1
6.3
ZG1043-1250
22
32.7
4.2
ZG1043-0220
130
145.1
6.3
ZG1043-1300
22
29.3
3.2
ZG1045-0220
135
160.1
6.3
ZG1043-1350
25
35.7
4.2
ZG1043-0250
140
155.1
6.3
ZG1043-1400
25
32.3
3.2
ZG1045-0250
150
165.1
6.3
ZG1043-1500
30
40.7
4.2
ZG1043-0300
160
175.1
6.3
ZG1043-1600
30
37.3
3.2
ZG1045-0300
170
185.1
6.3
ZG1043-1700
32
42.7
4.2
ZG1043-0320
180
195.1
6.3
ZG1043-1800
32
39.3
3.2
ZG1045-0320
190
205.1
6.3
ZG1043-1900
36
46.7
4.2
ZG1043-0360
200
220.5
8.1
ZG1043-2000
36
43.3
3.2
ZG1045-0360
210
230.5
8.1
ZG1043-2100
40
55.1
6.3
ZG1043-0400
220
240.5
8.1
ZG1043-2200
40
50.7
4.2
ZG1045-0400
230
250.5
8.1
ZG1043-2300
45
60.1
6.3
ZG1043-0450
240
260.5
8.1
ZG1043-2400
45
55.7
4.2
ZG1045-0450
250
270.5
8.1
ZG1043-2500
50
65.1
6.3
ZG1043-0500
260
284.0
8.1
ZG1043-2600
50
60.7
4.2
ZG1045-0500
270
294.0
8.1
ZG1043-2700

1 2 3 4

更多详情请咨询:电话:021-31006198     手机:13916607858(微信同号)     QQ:867887601
网站:http://www.ry6788.com/

 

上一篇:聚氨酯油封结构图纸及规格尺寸表
下一篇:密封件储存指导
返回顶部

上海荣耀实业有限公司 版权所有 未经授权禁止复制或镜像
CopyRight 2020 www.ry6788.com All rights reserved

电话:021-31006198   E-mai:867887601@qq.com  沪ICP备19039010号-1